

微信在线客服 邮箱:china@messwelk.com
手机:15275707088
电话:152-7570-7088
地址:山东省德州市德城区抬头寺乡
发布时间:2022-05-18 15:38:41 人气:
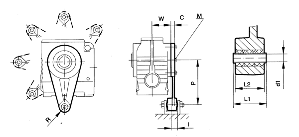
MNAT系列圆柱蜗杆减速机的安装尺寸

|
型号 |
C |
d1 |
l |
L1 |
L2 |
M |
P |
R |
W |
|
MNAT37 |
10 |
10.4±0.1 |
26 |
36 |
31 |
M6×16-8.8 |
110 |
21 |
57 |
|
MNAT47 |
15 |
10.4±0.1 |
20.5 |
36 |
31 |
M8×25-8.8 |
130 |
21 |
57.5 |
|
MNAT57 |
15 |
10.4±0.1 |
18.5 |
36 |
31 |
M8×25-8.8 |
160 |
21 |
72 |
|
MNAT67 |
18 |
10.4±0.1 |
19.5 |
36 |
31 |
M12×35-8.8 |
200 |
21 |
80.5 |
|
MNAT77 |
18 |
16.4±0.08 |
32.5 |
60 |
54 |
M12×35-8.8 |
250 |
30 |
101 |
|
MNAT87 |
24 |
16.4±0.08 |
25.5 |
60 |
54 |
M16×45-8.8 |
310 |
30 |
120 |
|
MNAT97 |
26 |
25±0.08 |
33 |
80 |
72 |
M16×60-8.8 |
380 |
40 |
140 |
上一篇 : MN..37MD17、MN..47MD17、MN..57MD17、MN..67MD37、MN..77MD37、MN..87MD57、MN..97MD57、型圆柱蜗杆减速机的安装尺寸
下一篇 : MNAF37、MNAF47、MNAF57、MNAF67、MNAF77、MNAF87、MNAF97、系列圆柱蜗杆减速机的安装尺寸
相关推荐