

微信在线客服 邮箱:china@messwelk.com
手机:15275707088
电话:152-7570-7088
地址:山东省德州市德城区抬头寺乡
发布时间:2022-05-19 15:02:02 人气:

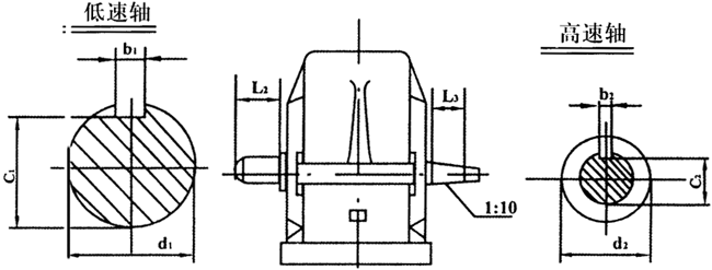
|
型号 |
接 轴 尺 寸 | |||||||
|
低 速 轴 |
高 速 轴 | |||||||
|
d1 |
b1 |
c1 |
L2 |
d2 |
b2 |
c2 |
L2 | |
|
JZQ250 |
ф55 |
18 |
47 |
83 |
ф30 |
8 |
9.5 |
58 |
|
JZQ350 |
ф55 |
18 |
47 |
83 |
ф40 |
12 |
13.5 |
82 |
|
JZQ400 |
ф80 |
28 |
67 |
123 |
ф40 |
12 |
13.5 |
82 |
|
JZQ500 |
ф80 |
28 |
67 |
123 |
ф50 |
16 |
8 |
82 |
|
JZQ650 |
ф110 |
36 |
100 |
163 |
ф60 |
18 |
22 |
105 |
|
JZQ750 |
ф110 |
36 |
100 |
163 |
ф60 |
18 |
22 |
105 |
|
JZQ850 |
ф130 |
36 |
113 |
198 |
ф90 |
24 |
35 |
130 |
|
JZQ1000 |
ф150 |
40 |
137 |
238 |
ф90 |
24 |
35 |
130 |
相关推荐