

微信在线客服 邮箱:china@messwelk.com
手机:15275707088
电话:152-7570-7088
地址:山东省德州市德城区抬头寺乡
发布时间:2022-05-18 16:05:36 人气:

|
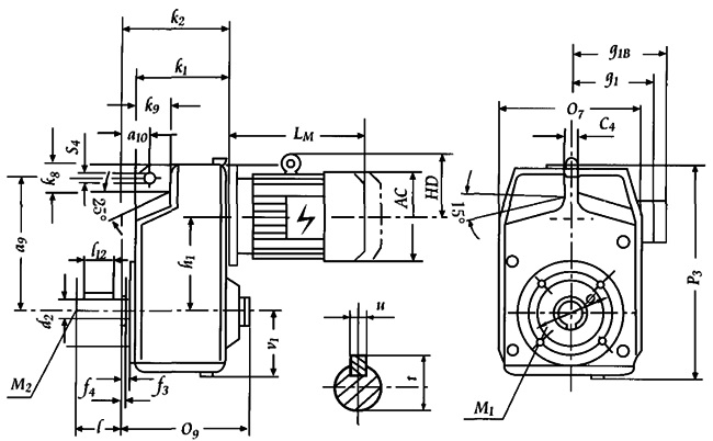
机座号 |
a9
a10 |
c4
f4 |
k1
h1 |
k8
k9 |
φ
O7
|
O9 |
M1
P3
|
S4
V1 |
d
|
l
l12 |
t
u |
K2
M2
|
d2
f3 |
|
YCPJ130 |
170
32 |
12
4 |
107
130 |
32
48 |
120
172
|
143 |
4-M110
285
|
14
85 |
30k6
|
60
50 |
33
8 |
119
M8
|
80
4 |
|
YCPJ160 |
218
41 |
16
5 |
139
160 |
42
60 |
128
212
|
183 |
4-M10
351
|
14
101 |
40k6
|
80
70 |
43
12 |
157
M10
|
90
5 |
|
YCPJ208 |
278
50 |
20
5 |
162
208 |
50
70 |
154
260
|
213 |
4-M12
442
|
22
124 |
50k6
|
100
80 |
53.5
14 |
182
M12
|
130
4 |
|
YCPJ255 |
346
62 |
26
5 |
184
255 |
65
80 |
215
315
|
243 |
4-M12
540
|
22
151 |
60m6
|
120
110 |
64
18 |
212
M12
|
180
5 |
|
YCPJ290 |
395
70 |
30
5.5 |
265
290 |
80
108 |
265
380
|
304 |
8-M16
628
|
26
182 |
70m6 |
140
125 |
74.5
20 |
286
M12
|
230
5 |
|
YCPJ358 |
485
88 |
38
6 |
275
358 |
90
121 |
330
464
|
354 |
8-M16
763
|
26
225 |
90m6
(80m6)
|
170
160 |
95
(85)
25
(22) |
315
M16
|
280
5 |
相关推荐