咨询电话:152-7570-7088
联系我们/ CONTACT US
微信在线客服
麦斯维克传动机械

邮箱:china@messwelk.com

手机:15275707088

电话:152-7570-7088

地址:山东省德州市德城区抬头寺乡

您的位置: 首页 > 技术支持 > 减速电机

减速电机

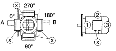
GK系列斜齿轮弧齿锥齿轮减速电机安装形式图例

发布时间:2022-05-18 15:35:58 人气:

GK系列斜齿轮弧齿锥齿轮减速电机安装形式图例

各种安装形式定义为:

M1―电机水平放置;减速机底脚朝下。
M2―电机居下。
M3―电机水平放置;减速机底脚朝上。
M4―电机居上。
M5―电机水平放置;当减速机在M1安装位置时,从电机方向看,减速机的左面旋转到下方位置。
M6―电机水平放置;当减速机在M1安装位置时,从电机方向看,减速机的左面旋转到上方位置。
安装形式图例 GK37-157/GKAB47-107

GK系列斜齿轮弧齿锥齿轮减速电机安装形式图例(图1)

相关推荐

在线客服
服务热线

服务热线

Tel:152-7570-7088

微信咨询
麦斯维克传动机械
返回顶部
X麦斯维克传动机械

截屏,微信识别二维码

微信号:messwelk

(点击微信号复制,添加好友)

  打开微信

微信号已复制,请打开微信添加咨询详情!