咨询电话:152-7570-7088
联系我们/ CONTACT US
微信在线客服
麦斯维克传动机械

邮箱:china@messwelk.com

手机:15275707088

电话:152-7570-7088

地址:山东省德州市德城区抬头寺乡

您的位置: 首页 > 技术支持 > 电动滚筒

电动滚筒

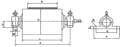
WX(WB、WD)T、WX(WB、WD)N电动滚筒安装尺寸表

发布时间:2022-05-17 14:09:58 人气:

WX(WB、WD)T、WX(WB、WD)N电动滚筒安装尺寸表(图1)

WX(WB、WD)T、WX(WB、WD)N电动滚筒安装尺寸表(图2)

D
B
A
L
H
M
N
P
Q
h
dS
320(400)
500
850
850
120
90
340
280
35
φ27
650
1000
1000
120
90
340
280
35
φ27
800
1300
1300
120
90
340
280
35
φ27
500
500
850
850
100
70
340
280
35
φ27
650
1000
1000
120
90
340
280
35
φ27
800
1300
1300
120
90
340
280
35
φ27
630
650
1000
1000
120
90
340
280
35
φ27
800
1300
1300
140
130
80
400
330
35
φ27
1000
1500
1500
140
130
80
400
330
35
φ27
1200
1750
1750
160
160
90
440
360
50
φ34
1400
2000
2000
160
160
90
440
360
50
φ34
800
800
1300
1300
140
130
80
400
330
35
φ27
1000
1500
1500
140
130
80
400
330
35
φ27
1200
1750
1750
160
160
90
440
360
50
φ34
1400
2000
2000
160
160
90
440
360
50
φ34
1000
1000
1500
1500
140
145
80
400
330
50
φ27
1200
1750
1750
160
160
90
440
360
50
φ34
1400
2000
2000
160
160
90
440
360
50
φ34

相关推荐

在线客服
服务热线

服务热线

Tel:152-7570-7088

微信咨询
麦斯维克传动机械
返回顶部
X麦斯维克传动机械

截屏,微信识别二维码

微信号:messwelk

(点击微信号复制,添加好友)

  打开微信

微信号已复制,请打开微信添加咨询详情!