

微信在线客服 邮箱:china@messwelk.com
手机:15275707088
电话:152-7570-7088
地址:山东省德州市德城区抬头寺乡
发布时间:2022-05-16 15:26:15 人气:
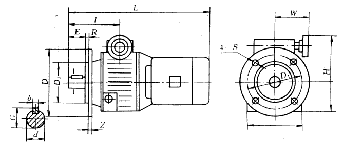
钢球无级变速器规格型号的外形及安装尺寸

|
机座号 |
安装尺寸 |
输出轴尺寸 |
外形尺寸 | ||||||||||||
|
D1 |
D2
(g6) |
Z |
R |
S |
d
(k6) |
h |
G |
E |
D |
B |
I |
W |
H |
L | |
|
100 |
215 |
180 |
15 |
4 |
15 |
19 |
6 |
22 |
35 |
250 |
165 |
125 |
110 |
210 |
425 |
|
112 |
215 |
180 |
15 |
4 |
15 |
24 |
8 |
28 |
50 |
250 |
165 |
150 |
120 |
225 |
425 |
|
132 |
265 |
230 |
16 |
4 |
15 |
24 |
8 |
28 |
50 |
300 |
190 |
155 |
140 |
280 |
480 |
|
160 |
300 |
250 |
16 |
5 |
19 |
28 |
8 |
32 |
50 |
350 |
230 |
170 |
170 |
320 |
565 |
|
180 |
300 |
250 |
16 |
5 |
19 |
32 |
10 |
36 |
55 |
350 |
230 |
180 |
190 |
360 |
600 |
|
200 |
350 |
300 |
22 |
5 |
19 |
38 |
10 |
42 |
55 |
400 |
230 |
190 |
210 |
390 |
640 |
|
225 |
400 |
350 |
22 |
5 |
8-φ19 |
42 |
12 |
46 |
70 |
450 |
280 |
220 |
230 |
420 |
765 |
|
250 |
500 |
450 |
24 |
5 |
8-φ19 |
55 |
16 |
60 |
100 |
550 |
320 |
275 |
280 |
480 |
815 |
|
280 |
500 |
450 |
24 |
5 |
8-φ19 |
55 |
16 |
60 |
100 |
550 |
350 |
290 |
310 |
540 |
1000 |
|
060 |
100 |
90 |
10 |
3.5 |
12 |
16 |
5 |
19 |
25 |
120 |
80 |
65 |
90 |
120 |
250 |
相关推荐